视觉+机器人,如何实现连接器的自动装配?
リリース時間:2019-08-13
ソース:
ページビュー:
机器视觉系统就是利用机器代替人眼来作各种测量和判断。它是计算科的一个重要分支,它综合了光学、机械、电子、计算机软硬件等方面的技术,涉及到计算机、图像处理、模式识别、人工智能、信号处理、光机电一体化等多个领域。图像处理和模式识别等技术的快速发展,也大大地推动了机器视觉的发展。
了解机器人视觉系统
一般来说,机器视觉系统包括了照明系统、镜头、摄像系统和图像处理系统。对于每一个应用,我们都需要考虑系统的运行速度和图像的处理速度、使用彩色还是黑白摄像机、检测目标的尺寸还是检测目标有无缺陷、视场需要多大、分辨率需要多高、对比度需要多大等。
从功能上来看,典型的机器视觉系统可以分为:图像采集部分、图像处理部分和运动控制部分。
机器人视觉系统优点
1、非接触测量,对于观测者与被观测者都不会产生任何损伤,从而提高系统的可靠性。
2、具有较宽的光谱响应范围,例如使用人眼看不见的红外测量,扩展了人眼的视觉范围。
(一)视觉系统的硬件设计
视觉系统的硬件主要由镜头、摄像机、图像采集卡、输入输出单元、控制装置构成。
一套视觉系统的好坏则分别取决于摄像机像素的高低,硬件质量的优劣,更重要的是各个部件间的相互配合和合理使用。
(二)视觉系统的软件设计
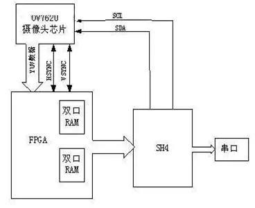
机器人视觉硬件主要包括图像获取和视觉处理两部分,而图像获取由照明系统、视觉传感器、模拟-数字转换器和帧存储器等组成。机器人视觉通过视觉传感器获取环境的二维图像,并通过视觉处理器进行分析和解释,进而转换为符号,让机器人能够辨识物体,并确定其位置。
具体过程如下:
三、实际应用
工业机器视觉难点在于精度和速度,要求都在毫米级,且工业领域工业机器人抓手的变动是在三维空间内。根据功能不同,机器人视觉可分为视觉检验和视觉引导两种。
1、食品安全监测
在流水化作业生产、产品质量检测方面,需要机器视觉观察、识别、发现生产环节中的错误和疏漏。
2、制造业
机器视觉系统的特点是提高生产的柔性和自动化程度。在一些不适合于人工作业的危险工作环境或人工视觉难以满足要求的场合,常用机器视觉来替代人工视觉;
同时,在大批量工业生产过程中,人工视觉效率低且精度不高,机器视觉检测可以提高生产效率和生产的自动化程度,且易于实现信息集成。
3、太阳能、交通监控
太阳能电池和模块生产者使用机器视觉来检测产品、识别和跟踪产品以及装配产品。
在交通监控领域,可应用于车牌识别技术、图像分析技术,自动识别车牌,发现违章停车、逆行、发现交通肇事车辆等。
四、市场前景
传统制造业面临新的颠覆,转型升级将给中国自动化行业带来巨大的市场机遇。而机器视觉作为自动化界高智能化产品,未来具有巨大的发展潜力。
中国的电子制造和代工厂商过去几年正在采购大量自动化设备取代人工,以应对中国愈演愈烈的缺工现象,未来几年这一现象将达到高潮。台资工厂纷纷选择提高自动化程度,其自动化换装高潮将在未来2-3年内到来,必将为机器视觉产品在该行业的应用带来新的增长点。
テクニカルサポートに連絡する
一般来说,机器视觉系统包括了照明系统、镜头、摄像系统和图像处理系统。对于每一个应用,我们都需要考虑系统的运行速度和图像的处理速度、使用彩色还是黑白摄像机、检测目标的尺寸还是检测目标有无缺陷、视场需要多大、分辨率需要多高、对比度需要多大等。
从功能上来看,典型的机器视觉系统可以分为:图像采集部分、图像处理部分和运动控制部分。
1、非接触测量,对于观测者与被观测者都不会产生任何损伤,从而提高系统的可靠性。
2、具有较宽的光谱响应范围,例如使用人眼看不见的红外测量,扩展了人眼的视觉范围。
3、长时间稳定工作,人类难以长时间对同一对象进行观察,而机器视觉则可以长时间地作测量、分析和识别任务。
4、机器视觉系统的应用领域越来越广泛。在工业、农业、国防、交通、医疗、金融甚至体育、娱乐等等行业都获得了广泛的应用,可以说已经深入到我们的生活、生产和工作的方方面面。
一、系统构成 视觉系统简单来说就可以用三个及独立又相互联系的模块来概括:目标物图像的采集、图像的处理、指令的发出。
视觉系统的设计分为软件设计和硬件设计两大部分。
4、机器视觉系统的应用领域越来越广泛。在工业、农业、国防、交通、医疗、金融甚至体育、娱乐等等行业都获得了广泛的应用,可以说已经深入到我们的生活、生产和工作的方方面面。
一、系统构成 视觉系统简单来说就可以用三个及独立又相互联系的模块来概括:目标物图像的采集、图像的处理、指令的发出。
视觉系统的设计分为软件设计和硬件设计两大部分。
视觉系统的硬件主要由镜头、摄像机、图像采集卡、输入输出单元、控制装置构成。
一套视觉系统的好坏则分别取决于摄像机像素的高低,硬件质量的优劣,更重要的是各个部件间的相互配合和合理使用。
视觉系统的软件设计是一个复杂的课题,不仅要考虑到程序设计的最优化,还要考虑到算法的有效性,及其能否实现,在软件设计的过程中要考虑到可能出现的问题。
视觉系统的软件设计完成还要对其鲁棒性进行检测和提高,以适应复杂的外部环境。
二、工作原理
视觉系统的软件设计完成还要对其鲁棒性进行检测和提高,以适应复杂的外部环境。
具体过程如下:
工业机器视觉难点在于精度和速度,要求都在毫米级,且工业领域工业机器人抓手的变动是在三维空间内。根据功能不同,机器人视觉可分为视觉检验和视觉引导两种。
1、食品安全监测
在流水化作业生产、产品质量检测方面,需要机器视觉观察、识别、发现生产环节中的错误和疏漏。
2、制造业
机器视觉系统的特点是提高生产的柔性和自动化程度。在一些不适合于人工作业的危险工作环境或人工视觉难以满足要求的场合,常用机器视觉来替代人工视觉;
同时,在大批量工业生产过程中,人工视觉效率低且精度不高,机器视觉检测可以提高生产效率和生产的自动化程度,且易于实现信息集成。
3、太阳能、交通监控
太阳能电池和模块生产者使用机器视觉来检测产品、识别和跟踪产品以及装配产品。
在交通监控领域,可应用于车牌识别技术、图像分析技术,自动识别车牌,发现违章停车、逆行、发现交通肇事车辆等。
四、市场前景
传统制造业面临新的颠覆,转型升级将给中国自动化行业带来巨大的市场机遇。而机器视觉作为自动化界高智能化产品,未来具有巨大的发展潜力。
中国的电子制造和代工厂商过去几年正在采购大量自动化设备取代人工,以应对中国愈演愈烈的缺工现象,未来几年这一现象将达到高潮。台资工厂纷纷选择提高自动化程度,其自动化换装高潮将在未来2-3年内到来,必将为机器视觉产品在该行业的应用带来新的增长点。
CN
EN
DE






手机请直接输入:
座机前加区号:+86-769-82716188-151


